Velké astronomické binokuláry
- Psion
- Příspěvky: 12678
- Registrován: 02. 01. 2001, 05:03
- Bydliště: Praha
- Věk: 63
- Kontaktovat uživatele:
Re: Velké astronomické binokuláry
Tu 120tku ladili u Markuse v APM, takže to měl dokonale zkolimované, oni tu standardní kolimaci dělají do zvětšení 100x. Mimochodem váhový rozdíl je + 3 kg, což mi nepřijde zase tak moc (6,6 vs 9,6 kg), samozřejmě % nárůst je to velký.
- SIRIUS_758
- Příspěvky: 2810
- Registrován: 26. 02. 2008, 23:09
Re: Velké astronomické binokuláry
Už jsem kdysi někde na AF zmiňoval, že mám políčeno na velmi zajímavý binokulár o průměru 127mm, který je stejného provedení, jako celá řada APM, ale nabízí ho jen americký Oberwerk. Jeho objekltivy jsou ED triplety. Binokuláry Oberwerk - např. menší BT100 SD jsou velmi pěkně provedené a mají výborný design díky povrchové úpravě barvou "pearl-white". Rozdíl velikosti mezi BT127 a BT100 není v celkové délce tak velký, jako mezi APM SD120 a menším 100mm. :
Tento prodejce má i evropský e-shop :
https://www.oberwerk.eu/shop/xl/69-bt-127xl-sd.html
Na těchto "eu" stránkách stále zůstává cena 4.300 €, za kterou se prodala první várka. Ovšem na origo-usa webu se cena od podzimu vyšplhala o skoro tisíc dolarů :
https://oberwerk.com/product/oberwerk-b ... telescope/
Nejen já musím doma šetřit místem a tento dalekohled mi připadá zkrátka kompaktnější než APM SD 120. BT 127 mm se už první várka prodala, nicméně nějaká slušná recenze není zatím k dispozici - ty, které dám na konec za moc nestojí, byť se tváří velmi nadějně - " BT127 ve srovnání s APM 120".
Kolem binokuláru Oberwerk 127 se vznáší i další otazníky :
1. Ne úplně jasný je popis o skladbě tripletů. Zda skutečně obsahují dvě ED skla - FCD100 ( ekviv. S-FPL53 ) a FK61 ( velmi blízký sklu FPL51 ) nebo je v popisu "FCD100/FK61" chyba - tedy že je tam jen jedno sklo a tím je Hoya FCD1 nebo jeho čínský ekvivalent FK61. Vzhledem k dosti krátké ohniskové vzdálenosti - 650mm - by logicky byla daleko lepší první varianta.
2. Čekal jsem, že záhy přijde nabídka tohoto binokuláru i ve verzi 90°. Z mého pohledu bych takovýto průměr nabízel především v 90°provedení... Na pozemní čumendo je 127mm zbytečně velký. Bohužel mi došlo až teď, že firma Oberwerk binokuláry s úhlem pohledu 90°zásadně nenabízí...!
Bude tedy zajímavé, zda se 127mm binoše objeví i v nabídce APM, kde zákonitě očekávám i verzi 90°.
Počkáme tedy, zda po slíbené květnové dodávce BT127ček přibydou fundované recenze, atd.
https://www.cloudynights.com/topic/7698 ... 90-ed-apo/
https://www.cloudynights.com/topic/7669 ... rst-light/
Tento prodejce má i evropský e-shop :
https://www.oberwerk.eu/shop/xl/69-bt-127xl-sd.html
Na těchto "eu" stránkách stále zůstává cena 4.300 €, za kterou se prodala první várka. Ovšem na origo-usa webu se cena od podzimu vyšplhala o skoro tisíc dolarů :
https://oberwerk.com/product/oberwerk-b ... telescope/
Nejen já musím doma šetřit místem a tento dalekohled mi připadá zkrátka kompaktnější než APM SD 120. BT 127 mm se už první várka prodala, nicméně nějaká slušná recenze není zatím k dispozici - ty, které dám na konec za moc nestojí, byť se tváří velmi nadějně - " BT127 ve srovnání s APM 120".
Kolem binokuláru Oberwerk 127 se vznáší i další otazníky :
1. Ne úplně jasný je popis o skladbě tripletů. Zda skutečně obsahují dvě ED skla - FCD100 ( ekviv. S-FPL53 ) a FK61 ( velmi blízký sklu FPL51 ) nebo je v popisu "FCD100/FK61" chyba - tedy že je tam jen jedno sklo a tím je Hoya FCD1 nebo jeho čínský ekvivalent FK61. Vzhledem k dosti krátké ohniskové vzdálenosti - 650mm - by logicky byla daleko lepší první varianta.
2. Čekal jsem, že záhy přijde nabídka tohoto binokuláru i ve verzi 90°. Z mého pohledu bych takovýto průměr nabízel především v 90°provedení... Na pozemní čumendo je 127mm zbytečně velký. Bohužel mi došlo až teď, že firma Oberwerk binokuláry s úhlem pohledu 90°zásadně nenabízí...!
Bude tedy zajímavé, zda se 127mm binoše objeví i v nabídce APM, kde zákonitě očekávám i verzi 90°.
Počkáme tedy, zda po slíbené květnové dodávce BT127ček přibydou fundované recenze, atd.
https://www.cloudynights.com/topic/7698 ... 90-ed-apo/
https://www.cloudynights.com/topic/7669 ... rst-light/
Naposledy upravil(a) SIRIUS_758 dne 18. 05. 2021, 22:59, celkem upraveno 1 x.
- Psion
- Příspěvky: 12678
- Registrován: 02. 01. 2001, 05:03
- Bydliště: Praha
- Věk: 63
- Kontaktovat uživatele:
Re: Velké astronomické binokuláry
kamarád má na něj taky políčeno, jak říkáš je to pěkně udělaný, triplet je lákavý (i když déle temperuje) ale je tam spousta otazníků. Jednak, jaká bude skutečná kvalita obrazu, protože co jsem četl, je absolutně nevypovídající a taky komunikace s Italy je hrůza. Na US stránkách se tváří, že do konce května bude k dispozici, ale moc bych tomu nevěřil (každý měsíc to posouvají o měsíc) a jak správně píšeš, těch 45° není na astro ideální, při nynějším pozorování galaxií v UMa si vykroutíš hlavu, stačí si to dát virtuálně do zenitu.
ještě pozor, dalekohled má ohnisko 650mm, asi jsi přehodil čísla, váha přes 11 kg a rozměrově je větší než APM 120. Ty rozměry Oberwerk se mi nějak ale nezdají.
Oberwerk
Dimensions 89 cm × 45 cm
Focal Length 650mm
APM
Dimensions 68 cm × 29 cm
Focal Length 660mm
ještě pozor, dalekohled má ohnisko 650mm, asi jsi přehodil čísla, váha přes 11 kg a rozměrově je větší než APM 120. Ty rozměry Oberwerk se mi nějak ale nezdají.
Oberwerk
Dimensions 89 cm × 45 cm
Focal Length 650mm
APM
Dimensions 68 cm × 29 cm
Focal Length 660mm
- Přílohy
-
- Snímek obrazovky 2021-05-18 v 21.55.45.png (230.53 KiB) Zobrazeno 2506 x
- SIRIUS_758
- Příspěvky: 2810
- Registrován: 26. 02. 2008, 23:09
Re: Velké astronomické binokuláry
Ano, díky, čísla jsem otočil - správná ohnisková vzdálenost je 650 mm, opravil jsem to v příspěvku...
- Psion
- Příspěvky: 12678
- Registrován: 02. 01. 2001, 05:03
- Bydliště: Praha
- Věk: 63
- Kontaktovat uživatele:
Re: Velké astronomické binokuláry
V jejich srovnávací tabulce jsem vyčetl toto:
APO FCD100/FK-61 triplet, f/5.1, fl=650mm, 45°, 1.25″, 46x (70°), WP, HD case
Tedy podle použitých skel by to mělo být hodně dobré, ale uvidíme.
Délka 61 cm, šířku odhaduji podle obrázku dalekohledu a rozměru objektivu tak na 35 cm. Tedy oproti APM 120 kratší, ale širší.
APO FCD100/FK-61 triplet, f/5.1, fl=650mm, 45°, 1.25″, 46x (70°), WP, HD case
Tedy podle použitých skel by to mělo být hodně dobré, ale uvidíme.
Délka 61 cm, šířku odhaduji podle obrázku dalekohledu a rozměru objektivu tak na 35 cm. Tedy oproti APM 120 kratší, ale širší.
- SIRIUS_758
- Příspěvky: 2810
- Registrován: 26. 02. 2008, 23:09
Re: Velké astronomické binokuláry
A bude u Oberwerku i 1,5-2 kg navíc. Ale ten kufr maj taky luxusní.
- Psion
- Příspěvky: 12678
- Registrován: 02. 01. 2001, 05:03
- Bydliště: Praha
- Věk: 63
- Kontaktovat uživatele:
Re: Velké astronomické binokuláry
Budu muset přehodnotit objektivy APM 120 SD APO. U běžných objektivů s FPL-53 vychází RC index kolem 2.0 při světelnosti F5.5. Po kolimaci objektivů je jasné, že je na tom APM podstatně lépe a hodnotil bych to někde kolem RC index 1.0, protože zv. 260x unese ještě celkem v pohodě a obraz Měsíce má ještě rozumnou ostrost, samozřejmě ztráta kontrastu tam je, nicméně chromatická aberace ve středu zorného pole je celkem zanedbatelná. Tedy přestože to je spíše přehlídkový dalekohled se širokým zorným polem na DSO, planety zvládne se zvětšením 200x určitě slušně.
Re: Velké astronomické binokuláry
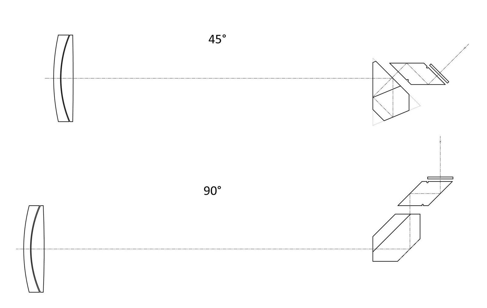
je zajímavé že oberwerk má u verze 120 i 100 skoro stejně velké ty pohyblivé hranoly , kdežto u APM má ta 120ka ty hranoly tak 2-2,5x větší i když mají oba okuláry 1.25" ...a 150ka od APM je má obrovské (tam je to ,ale dané použitím 2" okulárů )
TZK 10x80 ČSSR , D.F 10X80 ( CZ ) , TZK SSSR , SW 102/500, Di-6 , Meopta 6x30 , Berkut 15x50 , AST vz.53, Somet 25x100, Docter 8x30 , Bino home made 150mm , Zeiss 10x50W , Zeiss 7x50 , TS 30x100 ED , PNB 15x110
- Psion
- Příspěvky: 12678
- Registrován: 02. 01. 2001, 05:03
- Bydliště: Praha
- Věk: 63
- Kontaktovat uživatele:
Re: Velké astronomické binokuláry
APM 120 má spodní hranoly velké (to musí být), to je pravda, nicméně horní hranoly v okulárovém výtahu jsou už poměrně malé. Je to dáno optickou cestou s relativně velkou světelností, protože menší spodní hranoly by vinětovaly, hlavně při posunu okulárů v horizontální poloze. Nemá to Oberwerk mechanicky udělané jinak? Když se podívám GMK kolimátorem do APM 80, tak vidím odrazy na mnohem méně plochách než u APM 120, tam mi přijde ten optický návrh hranolů úplně jiný.
Re: Velké astronomické binokuláry
Takhle je řešené APM
- Přílohy
-
- gallery_205496_12429_97302.jpg (89.7 KiB) Zobrazeno 2308 x
TZK 10x80 ČSSR , D.F 10X80 ( CZ ) , TZK SSSR , SW 102/500, Di-6 , Meopta 6x30 , Berkut 15x50 , AST vz.53, Somet 25x100, Docter 8x30 , Bino home made 150mm , Zeiss 10x50W , Zeiss 7x50 , TS 30x100 ED , PNB 15x110
- Psion
- Příspěvky: 12678
- Registrován: 02. 01. 2001, 05:03
- Bydliště: Praha
- Věk: 63
- Kontaktovat uživatele:
Re: Velké astronomické binokuláry
Díky zase optické schéma, tohle všechno zkolimovat není úplná prča a přípravků to nejde už vůbec.
- Psion
- Příspěvky: 12678
- Registrován: 02. 01. 2001, 05:03
- Bydliště: Praha
- Věk: 63
- Kontaktovat uživatele:
Re: Velké astronomické binokuláry
Tak po 3 týdnech přistál přípravek na seřízení koincidence. Vzhledem k tomu, že byly oba objektivy špatně zkolimovány, tak to znamenalo rozdělat a seřídit hranoly. Pak udělat koincidenci celého binokuláru. Test proběhl na Izaru. Rozlišení obou složek při zv. 135x byla beproblémová, koincidence je perfektní, pro zvětšení 270x je obraz stále dobrý, obě složky daleko od sebe s Airyho kroužky. Objektivy jsou tedy naprosto v pořádku a dalekohled nyní ukazuje velmi solidně na to, že je určen spíše pro malá zvětšení. Při prvních testech na Měsíci byl obraz ve zkolimovaném objektivu parádní, v podstatě kresba slušného APO.
Pokud si někdo na tohle netroufá, APM nabízí službu seřízení dalekohledu pro zv. 180x za 600 Eur. Pokud nemá majitel dalekohledu zkušenosti s optikou, neměl by se vůbec do téhle operace pouštět
Pokud si někdo na tohle netroufá, APM nabízí službu seřízení dalekohledu pro zv. 180x za 600 Eur. Pokud nemá majitel dalekohledu zkušenosti s optikou, neměl by se vůbec do téhle operace pouštět
- Přílohy
-
- 20210607_212333.jpg (39.41 KiB) Zobrazeno 2070 x
Re: Velké astronomické binokuláry
Len pre zaujimavost (kedze som nieco podobne uz robil), aky tam bol asi rozptyl, lebo pri tychto velkych binokularoch by mala byt presnost vyroby natolko vysoka, ze by mohlo stacit stacilo objektivy mierne potcit na dosiahnutie optimalnej suososti ? Ale teda nemam z APM osobnu skusenost.Psion píše:Tak po 3 týdnech přistál přípravek na seřízení koincidence. ...
Kazdopadne 270x je vyborny vysledok.
ES Dobson 300/1500, APO 127 ... Binohlavky, Binokukatka
- Psion
- Příspěvky: 12678
- Registrován: 02. 01. 2001, 05:03
- Bydliště: Praha
- Věk: 63
- Kontaktovat uživatele:
Re: Velké astronomické binokuláry
Bohužel, obecně kvalita seřízení APM binokulárů je celkem mizerná a výrobce ani nereaguje na nějaké reklamace toho druhu, že při 150 násobném zvětšení je souosost sytému špatná, nebo je špatná kolimace. Oni obecně zaručují souosost do zvětšení 100x, což jakž takž je. Ale souosost není kolimace, tedy u dalekohledu musí být zkolimována optika v obou tubusech a pak teprve řešit souosost. Co je platné, že dalekohled nešilhá, když ukazuje špatně. Pokud někdo řeší jen pohled přes 18 mm okuláry, pak se s těmito problémy zabývat nemusí.
Re: Velké astronomické binokuláry
Zdravim vsetkych
Moja skusenost s TS "velkym binarom" 20x80 ...
https://www.teleskop-express.de/shop/pr ... apter.html
Ano, priznam sa nechal som sa zlakat na cenu - necelych 230 EUR za ED APO triplet.
Za tu cenu som necakal vela, ale to co tato optika produkuje je hnus - toto ze ma byt APO ?
Take farbicky ake to dava v podobe vyraznych fialovych a zelenych lemov okolo objektov je nieco priserne !!!
(a to je u TS tento binokular v kategorii - High-performance astronomy binoculars)
Myslite ze by pomohli nejake Fringe Killer filtre (alebo nieco podobne) nejako naimplantovane na ocnicovu cast ?
Moja skusenost s TS "velkym binarom" 20x80 ...
https://www.teleskop-express.de/shop/pr ... apter.html
Ano, priznam sa nechal som sa zlakat na cenu - necelych 230 EUR za ED APO triplet.
Za tu cenu som necakal vela, ale to co tato optika produkuje je hnus - toto ze ma byt APO ?
Take farbicky ake to dava v podobe vyraznych fialovych a zelenych lemov okolo objektov je nieco priserne !!!
(a to je u TS tento binokular v kategorii - High-performance astronomy binoculars)
Myslite ze by pomohli nejake Fringe Killer filtre (alebo nieco podobne) nejako naimplantovane na ocnicovu cast ?